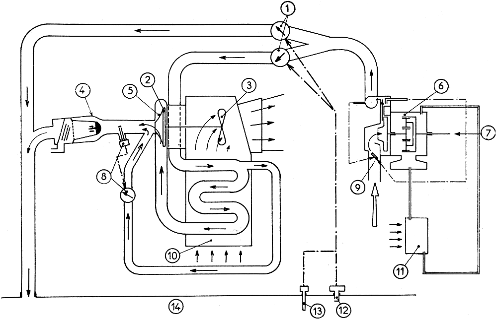
Fig. 24 -Schéma du groupe de conditionnement d'air ABG-SEMCA

Légende :

1. Vannes by-pass de régulation

8. Thermostat et vanne by-pass d'antigivrage

2. Roue turbine

9. Régulateur de débit d'air

3. J'entilateur

10. Echangeur air-air

4. Extracteur d'eau

11. Radiateur d'huile

5. Turboréfrigérateur

12. Sélecteur de température

6. Compresseur

13. Thermostat

7. Moteur d'appoint

14. Enceinte à climatiser.